今天起,高考开始出分!一键直达成绩查询→
| 2025-06-23 14:43:50 来源:央视新闻客户端 责任编辑:孙劲贞 我来说两句 |
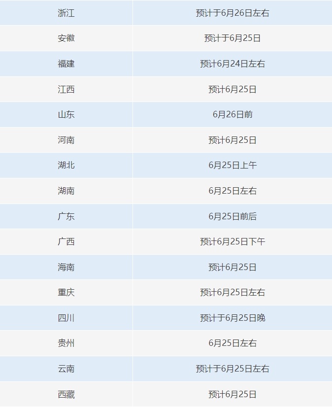
从今天起 各地2025高考成绩开始陆续公布 上海市将于今天(6月23日)14时 开放成绩查询系统 各地的具体出分时间如下 ↓↓↓
点击图片 一键直达高考成绩查询窗口↓
在高考成绩公布前 考生和家长可以提前开始做以下准备 ↓↓↓ 结合考生的兴趣爱好、职业规划以及自身优势,初步确定目标院校和专业范围。 收集目标院校招生信息,包括高校的招生章程、专业设置,了解历年录取分数线、位次等数据,了解目标院校的招生政策和专业要求。 关注所在省份招生考试院发布的招生计划和政策解读,及时掌握最新的招生动态。
临近查分 不少不法分子 会利用考生和家长的急切心理 精心设计多种骗局 警方提示 这些陷阱易中招>> 广大考生和家长一定要注意防范! ©2025中央广播电视总台版权所有。未经许可,请勿转载使用。 |
相关阅读:
![]() |
打印 | 收藏 | 发给好友 【字号 大 中 小】 |















